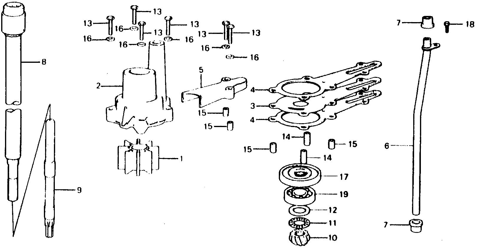
Mid - Large Outboard Engines (25 - 250hp) BF BF75 BF75C SA BF75S-1400001-1500000 WATER PUMP@VERTICAL SHAFT - Cordova Outboard, Inc.

Ref No
Part Number
Description
Serial Range
Qty
Price

Ref No
1
Part Number
19210-881-003
Description
IMPELLER, PUMP
Serial Range
1000001 - 9999999

Ref No
2
Part Number
19220-881-305
Description
HOUSING, IMPELLER
Serial Range
1000001 - 9999999
Qty
Price
$147.08

Ref No
3
Part Number
19231-881-000
Description
COVER, IMPELLER
Serial Range
1000001 - 9999999

Ref No
3
Part Number
19231-881-840
Description
COVER, IMPELLER
Serial Range
1000001 - 9999999
Qty
Price
$27.98

Ref No
4
Part Number
19232-881-306
Description
GASKET, IMPELLER
Serial Range
1000001 - 9999999
Qty
Price
$8.38

Ref No
5
Part Number
19233-881-305
Description
HOLDER, IMPELLER COVER
Serial Range
1000001 - 9999999

Ref No
6
Part Number
19251-881-010
Description
TUBE, WATER (S) (NOT AVAILABLE)
Serial Range
1000001 - 9999999

Ref No
7
Part Number
19252-921-020
Description
RING, SEAL
Serial Range
1000001 - 9999999
Qty
Price
$4.52

Ref No
8
Part Number
41110-881-000
Description
SHAFT, VERTICAL (S)
Serial Range
1000001 - 9999999

Ref No
8
Part Number
41110-881-841
Description
SHAFT, VERTICAL (S)
Serial Range
1000001 - 9999999

Ref No
9
Part Number
41121-881-030
Description
SHAFT, PINION
Serial Range
1000001 - 9999999

Ref No
10
Part Number
41131-881-000
Description
PINION, BEVEL (NOT AVAILABLE)
Serial Range
1000001 - 9999999

Ref No
11
Part Number
41132-935-003
Description
BEARING, THRUST (15MM)
Serial Range
1000001 - 9999999

Ref No
12
Part Number
41135-935-003
Description
WASHER A, THRUST BEARING (2.00MM)
Serial Range
1000001 - 9999999

Ref No
12
Part Number
41136-935-003
Description
WASHER B, THRUST BEARING (2.05MM)
Serial Range
1000001 - 9999999
Qty
Price
$8.46

Ref No
12
Part Number
41137-935-003
Description
WASHER C, THRUST BEARING (2.10MM)
Serial Range
1000001 - 9999999

Ref No
13
Part Number
90108-881-000
Description
BOLT, HEX. (6X28)
Serial Range
1000001 - 9999999
Qty
Price
$4.98

Ref No
14
Part Number
90111-935-000
Description
COLLAR A, DISTANCE (NOT AVAILABLE)
Serial Range
1000001 - 9999999

Ref No
15
Part Number
90112-881-000
Description
COLLAR B, DISTANCE
Serial Range
1000001 - 9999999
Qty
Price
$6.60

Ref No
16
Part Number
90504-921-010
Description
WASHER, PLAIN (6MM)
Serial Range
1000001 - 9999999
Qty
Price
$1.68

Ref No
17
Part Number
91252-935-004
Description
SEAL, WATER (15MM) (NOK)
Serial Range
1000001 - 9999999
Qty
Price
$22.72

Ref No
18
Part Number
92101-06012-4J
Description
BOLT, HEX. (6X12)
Serial Range
1000001 - 9999999
Qty
Price
$2.50

Ref No
19
Part Number
96100-63020-00
Description
BEARING, RADIAL BALL (6302)
Serial Range
1000001 - 9999999
Qty
Price
$11.54