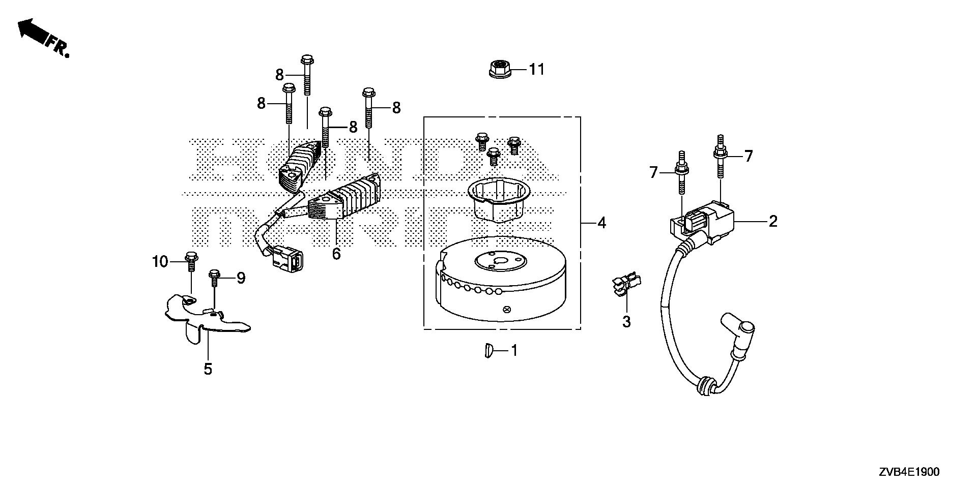
Portable Outboard Engines (2 - 20 hp) BF BF6 BF6AH LHNA BAEC-1000001-9999999 FLYWHEEL@IGNITION COIL - Cordova Outboard, Inc.

Ref No
Part Number
Description
Serial Range
Qty
Price

Ref No
1
Part Number
13331-357-000
Description
KEY, SPECIAL WOODRUFF (25X18)
Serial Range
1000001 - 1010257

Ref No
1
Part Number
13331-Z8B-900
Description
KEY, SPECIAL WOODRUFF (25X18)
Serial Range
1010258 - 9999999
Qty
Price
$5.90

Ref No
2
Part Number
30500-ZVD-003
Description
COIL ASSY., IGNITION
Serial Range
1000001 - 9999999
Qty
Price
$89.12

Ref No
3
Part Number
30701-ZVD-003
Description
CLIP, IGNITION WIRE
Serial Range
1000001 - 9999999
Qty
Price
$4.44

Ref No
4
Part Number
31110-ZVD-003ZA
Description
FLYWHEEL *BLACK* (BLACK)
Serial Range
1000001 - 9999999
Qty
Price
$198.40

Ref No
5
Part Number
31510-ZVD-000
Description
CLAMP, WIRE
Serial Range
1000001 - 9999999
Qty
Price
$21.74

Ref No
7
Part Number
90001-ZVD-000
Description
BOLT, SPECIAL (6MM)
Serial Range
1000001 - 9999999
Qty
Price
$14.30

Ref No
9
Part Number
90058-ZVA-000
Description
BOLT, FLANGE (5X10)
Serial Range
1000001 - 9999999
Qty
Price
$1.62

Ref No
10
Part Number
90117-ZVA-000
Description
BOLT, FLANGE (6X12)
Serial Range
1000001 - 9999999
Qty
Price
$2.40

Ref No
11
Part Number
90201-881-000
Description
NUT, SPECIAL (14MM)
Serial Range
1000001 - 9999999
Qty
Price
$6.88