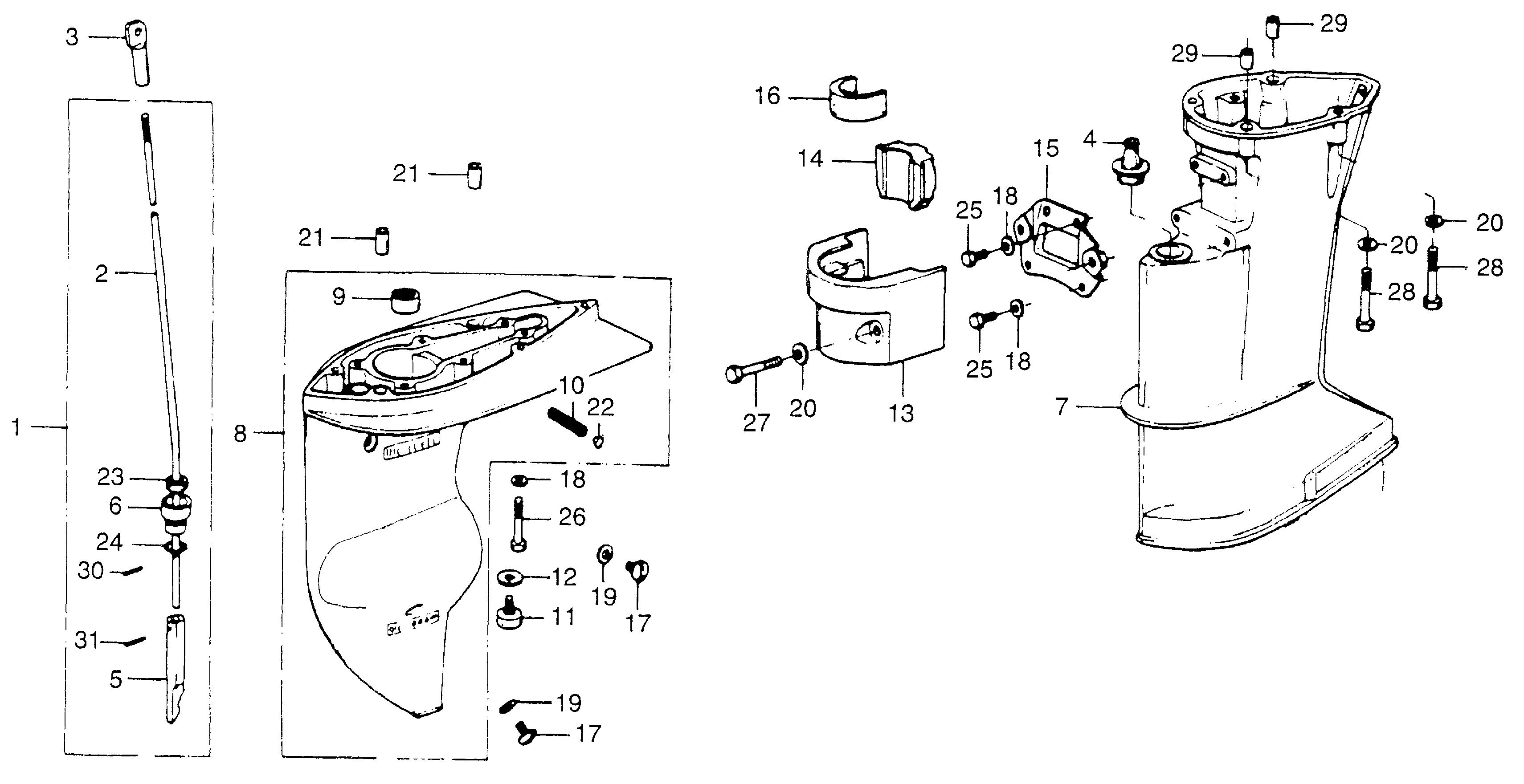
Portable Outboard Engines (2 - 20 hp) BF BF75 BF75 SA BF75-1000002-1013304 EXTENSION CASE@GEAR CASE @SHIFT ROD - Cordova Outboard, Inc.

Ref No
Part Number
Description
Serial Range
Qty
Price

Ref No
1
Part Number
24310-881-010
Description
ROD, GEARSHIFT (S)
Serial Range
1000001 - 9999999

Ref No
2
Part Number
24311-881-300
Description
ROD, GEARSHIFT (S)
Serial Range
1000001 - 9999999
Qty
Price
$53.22

Ref No
3
Part Number
24312-881-000
Description
JOINT, GEARSHIFT ROD
Serial Range
1000001 - 9999999
Qty
Price
$34.44

Ref No
4
Part Number
24313-921-003
Description
GROMMET, ROD (ARAI)
Serial Range
1000001 - 9999999

Ref No
5
Part Number
24341-ZV4-300
Description
ROD, PUSH
Serial Range
1000001 - 9999999
Qty
Price
$29.32

Ref No
6
Part Number
24343-881-300
Description
HOLDER, SEAL
Serial Range
1000001 - 9999999

Ref No
7
Part Number
40201-881-000ZA
Description
CASE, EXTENSION *B9* (S) (ATLANTIS BLUE) (NOT AVAILABLE)
Serial Range
1000001 - 9999999

Ref No
8
Part Number
41100-881-305ZA
Description
CASE, GEAR *B9* (ATLANTIS BLUE) (NOT AVAILABLE)
Serial Range
1000001 - 9999999

Ref No
9
Part Number
41103-935-003
Description
BEARING, NEEDLE (15X21X16)
Serial Range
1000001 - 9999999
Qty
Price
$13.56

Ref No
10
Part Number
41104-921-320
Description
SCREEN, WATER
Serial Range
1000001 - 9999999

Ref No
11
Part Number
41106-881-000
Description
METAL, ANODE (NOT AVAILABLE)
Serial Range
1000001 - 9999999

Ref No
12
Part Number
41107-935-000
Description
RUBBER, INSULATE (NOT AVAILABLE)
Serial Range
1000001 - 9999999

Ref No
13
Part Number
50121-881-000ZA
Description
HOUSING, SETTING (LOWER) *B9* (ATLANTIS BLUE) (NOT AVAILABLE)
Serial Range
1000001 - 9999999

Ref No
14
Part Number
50151-881-000
Description
RUBBER A, MOUNTING (LOWER)
Serial Range
1000001 - 9999999

Ref No
15
Part Number
50152-881-000
Description
PLATE, MOUNTING (LOWER) (NOT AVAILABLE)
Serial Range
1000001 - 9999999

Ref No
16
Part Number
50153-881-000
Description
RUBBER B, MOUNTING (LOWER)
Serial Range
1000001 - 9999999

Ref No
17
Part Number
90105-921-000
Description
BOLT, OIL CHECK
Serial Range
1000001 - 9999999

Ref No
18
Part Number
90504-921-010
Description
WASHER, PLAIN (6MM)
Serial Range
1000001 - 9999999
Qty
Price
$1.68

Ref No
19
Part Number
90507-921-000
Description
WASHER, NYLON (8MM)
Serial Range
1000001 - 9999999

Ref No
20
Part Number
90518-921-000
Description
WASHER, PLAIN (8MM)
Serial Range
1000001 - 9999999
Qty
Price
$1.60

Ref No
21
Part Number
90702-881-000
Description
PIN, DOWEL (8X10) (NOT AVAILABLE)
Serial Range
1000001 - 9999999

Ref No
22
Part Number
90855-921-300
Description
PLUG, SEALING (10MM)
Serial Range
1000001 - 9999999
Qty
Price
$3.64

Ref No
23
Part Number
91253-921-003
Description
SEAL, WATER (6MM)
Serial Range
1000001 - 9999999
Qty
Price
$15.24

Ref No
24
Part Number
91303-MG7-003
Description
O-RING (13.8X2.5)
Serial Range
1000001 - 9999999
Qty
Price
$4.18

Ref No
25
Part Number
92101-06012-4J
Description
BOLT, HEX. (6X12)
Serial Range
1000001 - 9999999
Qty
Price
$2.50

Ref No
26
Part Number
92000-06040-4J
Description
BOLT, HEX. (6X40)
Serial Range
1000001 - 9999999

Ref No
26
Part Number
92101-06040-4J
Description
BOLT, HEX. (6X40) (NOT AVAILABLE)
Serial Range
1000001 - 9999999

Ref No
27
Part Number
92101-08040-4J
Description
BOLT, HEX. (8X40)
Serial Range
1000001 - 9999999

Ref No
28
Part Number
92101-08050-4J
Description
BOLT, HEX. (8X50)
Serial Range
1000001 - 9999999
Qty
Price
$6.32

Ref No
29
Part Number
94301-10140
Description
PIN A, DOWEL (10X14)
Serial Range
1000001 - 9999999
Qty
Price
$3.00

Ref No
30
Part Number
94305-25122
Description
PIN, SPRING (2.5X12)
Serial Range
1000001 - 9999999
Qty
Price
$2.12

Ref No
31
Part Number
96220-25118
Description
ROLLER (2.5X11.8)
Serial Range
1000001 - 9999999
Qty
Price
$0.82